Оригинальные каталоги
| № | Номер | Наименование | Цена | |
|---|---|---|---|---|
| 1391025 | 1391025 | Короткий блок | Нет в продаже |
|
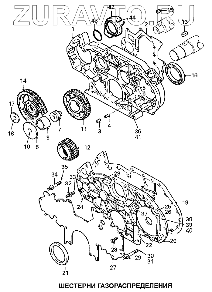
| 1 | 1358209 | Корпус распределительных шестерен | Нет в продаже |
|
| 2 | 1310861 | Прокладка корпуса распределительных шестерен со стороны блока цилиндров | Нет в продаже |
|
| 3 | 0240279 | Штифт 12х28 | Нет в продаже |
|
| 4 | 1336234 | Штифт 12х45 | Нет в продаже |
|
| 5 | 0398827 | Винт с шестигранным гнездом в головке М8х20 | Нет в продаже |
|
| 5 | 0271832 | Винт с шестигранным гнездом в головке М8х45 | Нет в продаже |
|
| 6 | 0240528 | Пружинная шайба М8 | Нет в продаже |
|
| 7 | 1207904 | Ступица паразитной шестерни механизма газораспределения | Нет в продаже |
|
| 8 | 1207785 | Опорная шайба | Нет в продаже |
|
| 9 | 1207905 | Вкладыш подшипника паразитной шестерни | Нет в продаже |
|
| 10 | 1327198 | Болт с фланцем М14х95 | Нет в продаже |
|
| 11 | 1331165 | Корпус шестерни распределителя | Нет в продаже |
|
| 12 | 1209326 | Корпус шестерни коленвала | Нет в продаже |
|
| 13 | 0226598 | Шпонка | Нет в продаже |
|
| 14 | 1209328 | Корпус шестерни распредвала | Нет в продаже |
|
| 15 | 0226595 | Шпонка | Нет в продаже |
|
| 16 | 1312211 | Уплотнительная манжета | Нет в продаже |
|
| 17 | 0751068 | Опорная шайба | Нет в продаже |
|
| 18 | 0751070 | Болт с шестигранным гнездом в головке | Нет в продаже |
|
| 19 | 1316731 | Прокладка корпуса механизма газораспределения со стороны крышки шестерен | Нет в продаже |
|
| 20 | 1312668 | Крышка шестерен ГРМ | Нет в продаже |
|
| 21 | 1340321 | Сальник коленвала со стороны ГРМ | Нет в продаже |
|
| 22 | 1313124 | Болт с фланцем М8х75 10,9 | Нет в продаже |
|
| 23 | 1305578 | Болт с фланцем М10х75 | Нет в продаже |
|
| 24 | 1313140 | Болт с фланцем М8х20 10,9 | Нет в продаже |
|
| 25 | 1313124 | Болт с фланцем М8х75 10,9 | Нет в продаже |
|
| 25 | 1313126 | Болт с фланцем М8х85 | Нет в продаже |
|
| 26 | 1313142 | Гайка с фланцем М8-10 | Нет в продаже |
|
| 27 | 1316777 | Металлический щиток корпуса шестерен ГРМ | Нет в продаже |
|
| 28 | 0529297 | Самофиксирующийся болт М6х9 | Нет в продаже |
|
| 29 | 0084327 | Шпилька с буртиком (L1=30, L2=75) | Нет в продаже |
|
| 30 | 0240528 | Пружинная шайба М8 | Нет в продаже |
|
| 31 | 1313142 | Гайка с фланцем М8-10 | Нет в продаже |
|
| 32 | 0275592 | Гайка с фланцем М8х8х20х20 | Нет в продаже |
|
| 33 | 0240528 | Пружинная шайба М8 | Нет в продаже |
|
| 34 | 0374120 | Шпилька с буртиком М8х20-М8х30 | Нет в продаже |
|
| 35 | 0240528 | Пружинная шайба М8 | Нет в продаже |
|
| 36 | 1313123 | Болт с фланцем М8х70 | Нет в продаже |
|
| 37 | 1313126 | Болт с фланцем М8х85 | Нет в продаже |
|
| 38 | 1328052 | Шпилька с буртиком | Нет в продаже |
|
| 39 | 0240528 | Пружинная шайба М8 | Нет в продаже |
|
| 40 | 1313142 | Гайка с фланцем М8-10 | Нет в продаже |
|
1
2
3
4
5
5
6
7
8
9
10
11
12
13
14
15
16
17
18
19
20
21
22
23
24
25
25
26
27
28
29
30
31
32
33
34
35
36
37
38
39
40
Содержащиеся в справочниках-каталогах запасные части и детали носят исключительно информационный характер