Оригинальные каталоги
| № | Номер | Наименование | Цена | |
|---|---|---|---|---|
| [Шланг 16мм] | [Шланг 16мм] | Шланг 16мм | Нет в продаже |
|
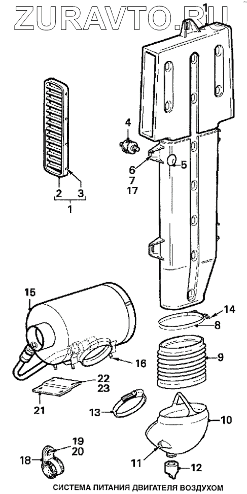
| 1 | 1332372 | Впускной воздуховод | Нет в продаже |
|
| 2 | 1298395 | Решетка воздухозаборника | Нет в продаже |
|
| 3 | 1294078 | Пружинный штифт | Нет в продаже |
|
| 4 | 1233247 | Резиновый демпфер | Нет в продаже |
|
| 5 | 0296645 | Крепление воздуховода | Нет в продаже |
|
| 6 | 0372967 | Шайба 8,5х30х3 | Нет в продаже |
|
| 7 | 0251275 | Гайка М8 | Нет в продаже |
|
| 8 | 1294074 | Хомут | Нет в продаже |
|
| 9 | 1310894 | Переходная гофра | Нет в продаже |
|
| 10 | 1304888 | Впускной патрубок | Нет в продаже |
|
| 11 | 1295138 | Болт М8х16 10,9 | Нет в продаже |
|
| 12 | 1306107 | Дренаж | Нет в продаже |
|
| 13 | 1241176 | Хомут (D=175-205) | Нет в продаже |
|
| 14 | 1321528 | Самоконтрящаяся гайка | Нет в продаже |
|
| 15 | 1353112 | Корпус воздушного фильтра | Нет в продаже |
|
| 16 | 1243044 | Гайка с фланцем М10 | Нет в продаже |
|
| 18 | 0375182 | Хомут крепления трубки (D=20, D1=9) | Нет в продаже |
|
| 19 | 1313141 | Болт с фланцем М8х25 10,9 | Нет в продаже |
|
| 20 | 1313142 | Гайка с фланцем М8-10 | Нет в продаже |
|
1
1
2
3
4
5
6
7
8
9
10
11
12
13
14
15
16
18
19
20
Содержащиеся в справочниках-каталогах запасные части и детали носят исключительно информационный характер